| |
 |
|
 |
| |
 |
联系人:钦旭伟
手 机:13706186832
地 址:无锡市锡山区羊尖镇严家桥
邮 编:214109
电 话:0510-88301971
0510-88302941
0510-88300286
传 真:0510-88301961
网 址:www.wxzhongya.com
邮 箱:zhongya123@sina.com
|
|
 |
| |
| |
|
|
 |
|
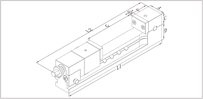
| 精密CNC加工中心虎钳 | | |
CNC精密虎钳,适用于CNC加工中心、雕铣机、铣床、平面大水磨等夹持工件加工。
主体采用钢材一体成型制造,韧性好,稳定。
钳口采用活动式定位设计,可快速变换,调整夹持位置,定位稳定。
虎钳的规格多样,可根据不同德工件选择,如图例。
| | | | [返回] [打印] |
|
|
|
|